公路施工阶段的试验检测内容及现场检测技术探讨

期刊: 建筑监督检测与造价 DOI: PDF下载

秦悦

安徽路港通工程试验检测有限公司 安徽合肥 230000

摘要

试验检测是公路施工的重要一环,试验检测水平直接关系着施工质量与安全。科学开展试验检测工作,施工单位可以加快施工进度,控制工程成本,再进行施工各环节的检验、评价,也能及时发现施工存在的问题并将其解决。日常施工期间,施工单位应明确试验检测内容,再合理采用检测技术,这不仅能保障公路施工的质量,还能推动我国公路运输业的发展。针对此,本文围绕公路施工中试验检测内容进行了分析,对其现场检测技术也进行了探讨。


关键词

公路工程;试验检测;技术方法

正文


引言:试验检测是施工单位开展质量控制与验收工作的基础。公路施工中,合理检测施工材料,基于检测结果判断材料是否符合工程标准,可以更好地运用材料资源,也能保证工程施工的质量。并且试验检测还可实现对施工材料、构件的质量评估,能帮助施工人员更高效、顺利地完成工作。由此可见,试验检测在公路施工阶段发挥着重要作用,施工单位应高度重视。

1、公路工程试验检测的重要性

公路工程施工前做好实地检测工作,可以充分发掘当地的可利用资源,施工单位可以就地取材,节省更多的材料运输成本。施工单位还可利用当地的填料、砂石进行作业,借助先进、高效的试验检测技术检测砂石、填料等,也可找到符合工程要求的施工材料,将这部分材料运往施工现场,可为施工单位节省更多的建设成本,施工工期也可加快[1]。同时,做好工程试验检测还能为公路施工提供有效的技术与施工工艺,将工艺技术引入到材料使用中,通过试验检测也能进一步分析技术及工艺效果,可以保证施工的安全性、可靠性。此外,试验检测可以综合评价公路施工的质量,并管控现场施工工作。在此背景下,施工单位可以提高工程施工水平,施工的质量和安全性也能得到保证,还能满足使用者对工程的需求与要求,十分有利于公路工程的发展。

2、公路施工阶段试验检测的相关内容

2.1原材料检测

公路施工中,施工单位需要对原材料进行试验检测。针对水泥,需要做好材料的安定性检测、标准用水量检测以及胶砂强度检测等。采购水泥期间,需要对同厂家相同批次、相同编号以及规格的水泥材料进行抽检,如将符合上述要求的水泥以袋装200吨、散装400吨的形式分批次检测,每个季度都需检测一次。至于集料,基于截面大小可分为粗集料、细集料,不同集料采用的试验检测方法也不相同。粗集料以检测磨光值、磨耗值以及吸水率等为主;细集料需要检测含水量、密度与含砂量。结合我国颁布的有关集料试验检测标准,粗集料以及细集料需要在使用前检查2个样品;若以粗、细集料为底基层,需要每2000立方米检查2个样品;在用作面层时,每一批次都需要检查2个样品。

针对砂材,施工单位需要检测其容重、筛分度以及密度等指标。如果砂材的料源相同并由同一单位开采,试验检测期间可以基于200平方米划分批次,并分批量检测。检测过程中每一批次需要进行至少1次的抽样检测。总之,原材料检测中,检测人员需要掌握砂石集料的各项指标,严格按照工程材料配比要求(如下表),做好标签、存档等工作,还要根据类别分区存放材料。

1 S16集料的配比要求

图片5.png 

2.2检验检测技术的试验内容及过程验证

公路施工中,检验检测技术主要用于施工材料的试验检测方面,比如标准击实试验、集料级配试验以及结构强度试验等,这些试验所得的结果会为工程施工提供有力的参考,也能实现对全过程施工质量的跟踪检测。各环节施工前,都应开展标准试验,在试验达标后方可施工[2]。此外,公路施工试验检测期间,为提高检测的精准度、真实性,还应进行试验过程的验证,即由业主、监理方第一时间验证施工单位的试验标准,如过程监督、平行试验等。通过检验,对比、核实施工单位提供的数据记录及试验检测报告,可以判断其是否达到工程施工要求,也能提高试验过程的合理性、有效性。

3、公路施工现场试验检测技术

3.1施工前的检测

公路施工前,检测人员需要检测集料以及沥青等。集料检测如上文所述,沥青检测的目的是提高沥青性能,确保沥青、石料高度黏结,从而延长公路路面的使用寿命。沥青试验检测中,需要重点检测其黏附性、密度等,以延度检测为例,检测人员应使用延度仪设备,保证样品、水面间距在27毫米以上。使用延度仪时,检测人员应高度关注水温变化,查看仪器有无晃动,在保证仪器的稳定性、合理性后方可进行试验检测。

3.2施工中的检测

施工期间需要进行弯沉检测,可以使用拖式或者车载式弯沉仪。以落锤式拖式弯沉仪为例,其涉及控制系统、动力装置两部分。基于检测机理,受到落锤作用向承载板施加一定荷载,通过承载板这一荷载可以传导至沥青面层,并出现弯沉变形情况,再利用传感器将变形信息传导至控制系统,便可得到真实的回弹弯沉值。

3.3施工后的检测

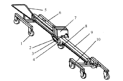
公路施工后,检测人员需要检测其平整度。公路行车不仅需要路面有较高的稳定性、安全性,还要有良好的舒适度,而这与公路的平整度指标相关。试验检测中,检测人员需要使用反应类、断面类仪器,反应类仪器可以检测行车的舒适度;断面类仪器可以检测路面的凹凸情况[3]。一般情况下,检测人员常使用车载式颠簸累计仪,这一仪器完美融合了纵断面分析等高新技术,如下图。检测期间,将设备置于指定位置,每隔10厘米获取一次位移值,再基于100米进行平整度标准差分析,做好各项数据的记录,绘制相应曲线图。通过这一过程,检测人员可以了解公路的平整度指标是否达到工程使用要求。

图片6.png 

(注:1为脚轮;2为拉簧;3为离合器;4为测架;5为牵引架;6为前架;7为纵断面测绘仪;8为侧定轮;9为纵梁;10为后架)

1 车载式颠簸累计仪

结束语:

总而言之,公路工程施工关系着社会的发展以及人民生活,确保公路施工的质量与效益,可为人们的出行、生活提供有力的保障。当下,试验检测是保证公路顺利、稳定施工的基础,合理应用现场检测技术不仅能提高施工材料的质量和性能,还能保证各施工环节顺利、有序地进行,整个工程的施工质量也能得到保障。

参考文献:

[1] 朱宁宁. 公路施工试验检测工作内容及现场检测关键技术分析[J]. 工程技术研究,2022,7(14):62-64.

[2] 谷昊. 公路施工中试验检测工作的内容及现场检测技术[J]. 工程建设与设计,2017(20):56-57.

[3] 徐 想. 公路施工中试验检测工作的内容及现场检测技术[J]. 建筑工程技术与设计,2019(4):214. 


...


阅读全文